Werkstoff: Grauguss EN-GJL-250, phosphatiert.
Keilriemenscheiben für Taper-Spannbuchsen, zur schnellen und einfachen Montage. Die Taper-Spannbuchse muss separat bestellt werden. In Anlehnung an DIN 2211 bzw. DIN 2217 bzw. ISO 4183, zur Verwendung mit klassischen Keilriemen DIN 2215 und Schmalkeilriemen DIN 7753-1 / ISO 4184. Auch verwendbar für Keilriemen 5V/15N nach ARPM/MPTA. Der Nenndurchmesser D1 ist der Wirkdurchmesser.

1) Ø 100-106mm nicht für Keilriemen SPB, XPB und 5V/15N.
2) Ø 112-132mm nicht für Keilriemen SPB und 5V/15N.


Im Zuge der Sortimentserweiterung dieser Produktgruppe wurden neue Teilenummern vergeben. Hier erhalten Sie eine vollständige Übersicht der bisherigen und neuen Artikelnummern:

Übersicht Nachfolger Taper-Keilriemenscheiben

Service:

Katalogseite

Zusätzliche Informationen

Montageanleitung



Die angebotenen CAD-Daten, Abbildungen und technischen Zeichnungen werden mit größtmöglicher Sorgfalt erstellt.
Dennoch kann keine Gewährleistung für die Fehlerfreiheit und Genauigkeit dieser Daten übernommen werden.

( freibleibend aus Lagervorrat / kurzfristig lieferbar / Lieferzeit nach Vereinbarung. Bitte fragen Sie nach. )
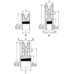
Artikel Menge Bisherige ArtikelnummerRillen-AnzahlNenn-Ø D1
[mm]
Ø DA
[mm]
AusführungTaper-Buchse
[Nr.]
Bohrung
[mm]
E
[mm]
h
[mm]
J
[mm]
K
[mm]
L
[mm]
M
[mm]
N
[mm]
Gewicht ca.
[kg]
MAE 151-B-1-100
155110001100 1)10701610 12 - 42 -25--25--0,80
MAE 151-B-1-106
1106 1)11301610 12 - 42 -25--25--0,912
MAE 151-B-1-112
155111001112 2)11901610 12 - 42 -25--25--1,00
MAE 151-B-1-118
1118 2)12501610 12 - 42 -25--25--1,70
MAE 151-B-1-125
155112001125 2)13201610 12 - 42 -25--25--1,50
MAE 151-B-1-132
1132 2)13901610 12 - 42 -25--25--1,80
MAE 151-B-1-140
15511400114014701610 12 - 42 -25--25--2,00
MAE 151-B-1-150
115015701610 12 - 42 -25--25--2,40
MAE 151-B-1-160
15511600116016701610 12 - 42 -25--25--2,82
MAE 151-B-1-170
117017701610 12 - 42 -25--25--2,37
MAE 151-B-1-180
15511800118018761610 12 - 42 1525142-25-803,40
MAE 151-B-1-190
119019772012 12 - 50 15251473,5323,51043,70
MAE 151-B-1-200
15512000120020772012 12 - 50 15251573,5323,51042,90
MAE 151-B-1-212
121221972012 12 - 50 15251693,5323,51044,50
MAE 151-B-1-224
15512200122423172012 12 - 50 15251813,5323,51045,0
MAE 151-B-1-236
123624372012 12 - 50 15251933,5323,51045,5
MAE 151-B-1-250
15512500125025772012 12 - 50 20252073,5323,51044,5
MAE 151-B-1-280
15512800128028772012 12 - 50 20252373,5323,51046,4
MAE 151-B-1-300
130030772012 12 - 50 20252583,5323,51048,0
MAE 151-B-1-315
131532272012 12 - 50 20252723,5323,51048,0


zur Gruppe


Impressum AGB Hilfe Index


MÄDLER on Facebook Facebook MÄDLER on Youtube YouTube MÄDLER on X X MÄDLER on Instagram Instagram MÄDLER on Xingk Xing MÄDLER on Linkedin LinkedIn