Werkstoff: Grauguss EN-GJL-250, phosphatiert.
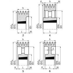
Keilriemenscheiben für Taper-Spannbuchsen, zur schnellen und einfachen Montage. Die Taper-Spannbuchse muss separat bestellt werden. In Anlehnung an DIN 2211 bzw. DIN 2217 bzw. ISO 4183, zur Verwendung mit klassischen Keilriemen DIN 2215 und Schmalkeilriemen DIN 7753-1 / ISO 4184. Der Nenndurchmesser D1 ist der Wirkdurchmesser.

1) Ø 80mm nicht für Keilriemen SPA.

Service:

Katalogseite

Zusätzliche Informationen

Montageanleitung



Die angebotenen CAD-Daten, Abbildungen und technischen Zeichnungen werden mit größtmöglicher Sorgfalt erstellt.
Dennoch kann keine Gewährleistung für die Fehlerfreiheit und Genauigkeit dieser Daten übernommen werden.

( freibleibend aus Lagervorrat / kurzfristig lieferbar / Lieferzeit nach Vereinbarung. Bitte fragen Sie nach. )
Artikel Menge Rillen-AnzahlNenn-Ø D1
[mm]
Ø DA
[mm]
AusführungTaper-Buchse
[Nr.]
Bohrung
[mm]
E
[mm]
h
[mm]
J
[mm]
K
[mm]
L
[mm]
M
[mm]
N
[mm]
Gewicht ca.
[kg]
MAE 151-A-4-80
480 1)85,581215 14 - 28 -65492738--1,08
MAE 151-A-4-90
49095,581615 12 - 42 -65592738--1,31
MAE 151-A-4-95
495100,581615 12 - 42 -65632738--1,43
MAE 151-A-4-100
4100105,521615 12 - 42 -6566-3827-1,71
MAE 151-A-4-106
4106111,582012 12 - 50 -65723332--1,67
MAE 151-A-4-112
4112117,582012 12 - 50 -65783332--1,91
MAE 151-A-4-118
4118123,522012 12 - 50 -6584-3233-2,21
MAE 151-A-4-125
4125130,522012 12 - 50 -6591-3233-2,55
MAE 151-A-4-132
4132137,522517 15 - 65 -6598-4520-2,72
MAE 151-A-4-140
4140145,522517 15 - 65 -65106-4520-3,34
MAE 151-A-4-150
4150155,522517 15 - 65 -65116-4520-4,20
MAE 151-A-4-160
4160165,522517 15 - 65 -65125-4520-5,00
MAE 151-A-4-170
4170175,522517 15 - 65 -65135-4520-5,63
MAE 151-A-4-180
4180185,522517 15 - 65 -65146-4520-6,70
MAE 151-A-4-190
4190195,522517 15 - 65 -65156-4520-7,54
MAE 151-A-4-200
4200205,523020 20 - 75 -65165-5114-8,30
MAE 151-A-4-212
4212217,523020 20 - 75 -65177-5114-9,57
MAE 151-A-4-224
4224229,523020 20 - 75 -65189-5114-11,04
MAE 151-A-4-236
4236241,563020 20 - 75 2565202-51141598,88
MAE 151-A-4-250
4250255,563020 20 - 75 206521575171599,35
MAE 151-A-4-280
4280285,563020 20 - 75 2565245751715911,0
MAE 151-A-4-300
4300305,563020 20 - 75 2565265751715911,7
MAE 151-A-4-315
4315320,563020 20 - 75 2565280751715912,0
MAE 151-A-4-355
4355360,553020 20 - 75 -65320751715912,05
MAE 151-A-4-400
4400405,553020 20 - 75 -65365751715915,9
MAE 151-A-4-450
4450455,553020 20 - 75 -65415751715919,18
MAE 151-A-4-500
4500505,553020 20 - 75 -65465751715918,5
MAE 151-A-4-560
4560565,543535 30 - 90 -6552512891217535,0
MAE 151-A-4-630
4630635,543535 30 - 90 -6559512891217537,5
MAE 151-A-4-800
4800805,543535 30 - 90 -6576512891217541,2
MAE 151-A-4-1000
410001005,544040 40 - 100 -6596518,510218,521070,2


zur Gruppe


Impressum AGB Hilfe Index


MÄDLER on Facebook Facebook MÄDLER on Youtube YouTube MÄDLER on X X MÄDLER on Instagram Instagram MÄDLER on Xingk Xing MÄDLER on Linkedin LinkedIn