Werkstoff: Grauguss EN-GJL-250, phosphatiert.
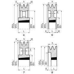
Keilriemenscheiben für Taper-Spannbuchsen, zur schnellen und einfachen Montage. Die Taper-Spannbuchse muss separat bestellt werden. In Anlehnung an DIN 2211 bzw. DIN 2217 bzw. ISO 4183, zur Verwendung mit klassischen Keilriemen DIN 2215 und Schmalkeilriemen DIN 7753-1 / ISO 4184. Der Nenndurchmesser D1 ist der Wirkdurchmesser.

1) Ø 63-67mm nicht für Keilriemen SPA und XPA.
2) Ø 71-85mm nicht für Keilriemen SPA.
3) Ø 63mm Stahl C45, phosphatiert.


Im Zuge der Sortimentserweiterung dieser Produktgruppe wurden neue Teilenummern vergeben. Hier erhalten Sie eine vollständige Übersicht der bisherigen und neuen Artikelnummern:

Übersicht Nachfolger Taper-Keilriemenscheiben

Service:

Katalogseite

Zusätzliche Informationen

Montageanleitung



Die angebotenen CAD-Daten, Abbildungen und technischen Zeichnungen werden mit größtmöglicher Sorgfalt erstellt.
Dennoch kann keine Gewährleistung für die Fehlerfreiheit und Genauigkeit dieser Daten übernommen werden.

( freibleibend aus Lagervorrat / kurzfristig lieferbar / Lieferzeit nach Vereinbarung. Bitte fragen Sie nach. )
Artikel Menge Bisherige ArtikelnummerRillen-AnzahlNenn-Ø D1
[mm]
Ø DA
[mm]
AusführungTaper-Buchse
[Nr.]
Bohrung
[mm]
E
[mm]
h
[mm]
J
[mm]
K
[mm]
L
[mm]
M
[mm]
N
[mm]
Gewicht ca.
[kg]
MAE 151-A-2-63
263 1) 3)68,581008 9 - 28 -3532,51322--0,42
MAE 151-A-2-67
267 1)72,581108 9 - 28 -35371322--0,44
MAE 151-A-2-71
15320700271 2)76,581108 9 - 28 -35401322--0,50
MAE 151-A-2-75
275 2)80,581108 9 - 28 -35441322--0,59
MAE 151-A-2-80
15320800280 2)85,581210 10 - 32 -35501025--0,58
MAE 151-A-2-85
285 2)90,581210 10 - 32 -35551025--0,75
MAE 151-A-2-90
1532090029095,581610 12 - 42 -35591025--0,71
MAE 151-A-2-95
295100,581610 12 - 42 -35631025--0,85
MAE 151-A-2-100
153210002100105,581610 12 - 42 -35661025--0,96
MAE 151-A-2-106
2106111,581610 12 - 42 -35721025--1,20
MAE 151-A-2-112
153211002112117,581610 12 - 42 -35781025--1,38
MAE 151-A-2-118
2118123,581610 12 - 42 -35841025--1,58
MAE 151-A-2-125
153212002125130,581610 12 - 42 -35911025--1,88
MAE 151-A-2-132
2132137,582012 12 - 50 -3598332--2,07
MAE 151-A-2-140
153214002140145,582012 12 - 50 -35106332--2,50
MAE 151-A-2-150
2150155,582012 12 - 50 -35116332--2,99
MAE 151-A-2-160
153216002160165,582012 12 - 50 -35125332--3,50
MAE 151-A-2-170
2170175,582012 12 - 50 -35135332--3,20
MAE 151-A-2-180
153218002180185,562012 12 - 50 10351461,5321,51084,00
MAE 151-A-2-190
2190195,562012 12 - 50 10351561,5321,51083,66
MAE 151-A-2-200
153220002200205,572517 15 - 65 103516554551234,74
MAE 151-A-2-212
2212217,572517 15 - 65 183517754551235,22
MAE 151-A-2-224
153222002224229,5132517 15 - 65 1835189-45101245,45
MAE 151-A-2-236
2236241,5142517 15 - 65 1235202-45101245,74
MAE 151-A-2-250
153225002250255,542517 15 - 65 123521554551245,65
MAE 151-A-2-280
153228002280285,5132517 15 - 65 1235245-45101246,20
MAE 151-A-2-300
2300305,5142517 15 - 65 1235265-45101246,86
MAE 151-A-2-315
153231002315320,5132517 15 - 65 1235280-45101247,17
MAE 151-A-2-355
2355360,5132517 15 - 65 -35320-45101247,79
MAE 151-A-2-400
2400405,5132517 15 - 65 -35365-45101249,89
MAE 151-A-2-450
2450455,5132517 15 - 65 -35465-451012411,02
MAE 151-A-2-500
2500505,5132517 15 - 65 -35525-451012513,10
MAE 151-A-2-630
2630635,543020 20 - 75 -3559585118159,0018,50


zur Gruppe


Impressum AGB Hilfe Index


MÄDLER on Facebook Facebook MÄDLER on Youtube YouTube MÄDLER on X X MÄDLER on Instagram Instagram MÄDLER on Xingk Xing MÄDLER on Linkedin LinkedIn