Werkstoff: Grauguss EN-GJL-250, phosphatiert.
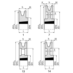
Keilriemenscheiben für Taper-Spannbuchsen, zur schnellen und einfachen Montage. Die Taper-Spannbuchse muss separat bestellt werden. In Anlehnung an DIN 2211 bzw. DIN 2217 bzw. ISO 4183, zur Verwendung mit klassischen Keilriemen DIN 2215 und Schmalkeilriemen DIN 7753-1 / ISO 4184. Der Nenndurchmesser D1 ist der Wirkdurchmesser.

1) Ø 63-67mm nicht für Keilriemen SPA und XPA.
2) Ø 71-85mm nicht für Keilriemen SPA.


Im Zuge der Sortimentserweiterung dieser Produktgruppe wurden neue Teilenummern vergeben. Hier erhalten Sie eine vollständige Übersicht der bisherigen und neuen Artikelnummern:

Übersicht Nachfolger Taper-Keilriemenscheiben

Service:

Katalogseite

Zusätzliche Informationen

Montageanleitung



Die angebotenen CAD-Daten, Abbildungen und technischen Zeichnungen werden mit größtmöglicher Sorgfalt erstellt.
Dennoch kann keine Gewährleistung für die Fehlerfreiheit und Genauigkeit dieser Daten übernommen werden.

( freibleibend aus Lagervorrat / kurzfristig lieferbar / Lieferzeit nach Vereinbarung. Bitte fragen Sie nach. )
Artikel Menge Bisherige ArtikelnummerRillen-AnzahlNenn-Ø D1
[mm]
Ø DA
[mm]
AusführungTaper-Buchse
[Nr.]
Bohrung
[mm]
E
[mm]
h
[mm]
J
[mm]
K
[mm]
L
[mm]
M
[mm]
N
[mm]
Gewicht ca.
[kg]
MAE 151-A-1-63
163 1)68,511008 9 - 25 -20--222560,28
MAE 151-A-1-67
167 1)72,511108 9 - 28 -20--222560,29
MAE 151-A-1-71
15310700171 2)76,511108 9 - 28 -20--222600,35
MAE 151-A-1-75
175 2)80,511108 9 - 28 -20--222560,42
MAE 151-A-1-80
15310800180 2)85,511210 10 - 32 -20--255750,48
MAE 151-A-1-85
185 2)90,511210 10 - 32 -20--255800,59
MAE 151-A-1-90
1531090019095,511210 10 - 32 -20--255800,67
MAE 151-A-1-95
195100,511210 10 - 32 -20--255850,77
MAE 151-A-1-100
153110001100105,511610 12 - 42 -20--255850,75
MAE 151-A-1-106
1106111,511610 12 - 42 -20--255920,92
MAE 151-A-1-112
153111001112117,511610 12 - 42 -20--255921,07
MAE 151-A-1-118
1118123,511610 12 - 42 -20--255921,22
MAE 151-A-1-125
153112001125130,511610 12 - 42 -20--255921,19
MAE 151-A-1-132
1132137,511610 12 - 42 -20--255921,59
MAE 151-A-1-140
153114001140145,511610 12 - 42 -20--255921,86
MAE 151-A-1-150
1150155,511610 12 - 42 -20--255922,15
MAE 151-A-1-160
153116001160165,511610 12 - 42 -20--255922,30
MAE 151-A-1-170
1170175,511610 12 - 42 -20--255922,08
MAE 151-A-1-180
153118001180185,5141610 12 - 42 620145-255922,20
MAE 151-A-1-190
1190195,5141610 12 - 42 620156-255922,30
MAE 151-A-1-200
153120001200205,5142012 12 - 50 620165-32121082,83
MAE 151-A-1-212
1212217,5142012 12 - 50 1020177-32121103,38
MAE 151-A-1-224
153122001224229,5142012 12 - 50 1020189-32121123,56
MAE 151-A-1-236
1236241,5142012 12 - 50 1020202-32121123,63
MAE 151-A-1-250
153125001250255,572012 12 - 50 102021563261123,64
MAE 151-A-1-280
153128001280285,5142012 12 - 50 1020245-32121124,04
MAE 151-A-1-300
1300305,5142012 12 - 50 1220265-32121124,37
MAE 151-A-1-315
153131001315320,5142012 12 - 50 1220280-32121124,43
MAE 151-A-1-355
1355360,5132012 12 - 50 -20320-32121125,62
MAE 151-A-1-400
1400405,5132012 12 - 50 -20365-32121125,82
MAE 151-A-1-450
1450455,5132012 12 - 50 -20415-32121127,26
MAE 151-A-1-500
1500505,5132517 15 - 65 -20465-45251249,27
MAE 151-A-1-630
1630635,5132517 15 - 65 -20595-452512413,91


zur Gruppe


Impressum AGB Hilfe Index


MÄDLER on Facebook Facebook MÄDLER on Youtube YouTube MÄDLER on X X MÄDLER on Instagram Instagram MÄDLER on Xingk Xing MÄDLER on Linkedin LinkedIn